Born in the village of Blain in Perry County, Pennsylvania on 18 September 1838, Daniel K. Reeder was a son of John and Sarah (Anderson) Reeder, who were both natives of Germany.
Raised on the Reeder’s family farm, he worked the land while also learning the trade of carpentry. By the dawn of the Civil War, federal and state documents confirm that he was gainfully employed as a carpenter while residing in Elliottsburg, Perry County, Pennsylvania.
Civil War
At the age of 23, Daniel K. Reeder enrolled for military service at Elliottsburg in Perry County, Pennsylvania. He then mustered in at Camp Curtin in Dauphin County as a Corporal with Company H of the 47th Regiment, Pennsylvania Volunteer Infantry on 19 September 1861.
* Note: Company H was one of two companies from Perry County which served with the 47th Pennsylvania Volunteers and was also the final company to muster in. With most of its men logged in as available for duty effective 19 September 1861 and since military practice dictated that the average company size number one hundred soldiers, H Company’s leadership continued to recruit and enroll men through 30 October in order to bring the company’s roster count up from ninety to ninety-seven. Company H was led by Captain James Kacy, a forty-four-year-old merchant and resident of Elliottsburg, Pennsylvania who had served as a railroad postal clerk for the United States government in the mid-1850s during the administration of President Franklin Pierce. Supporting Kacy as a leader of Company H was First Lieutenant William Wallace Geety, a twenty-nine-year-old who had been a practicing dentist in Harrisburg.
Military records at the time described the newly minted Corporal Reeder as being 6’ 1½” tall with brown hair, hazel eyes and a light complexion.
Following a brief light infantry training period, Captain Kacy and his company were sent by train with the 47th Pennsylvania to Washington, D.C., where they were stationed at “Camp Kalorama” on Kalorama Heights near Georgetown, about two miles from the White House, beginning 21 September.
On 22 September, C Company Musician Henry D. Wharton penned the following update for his hometown newspaper, the Sunbury American:
After a tedious ride we have, at last, safely arrived at the City of ‘magnificent distances.’ We left Harrisburg on Friday last at 1 o’clock A.M. and reached this camp yesterday (Saturday) at 4 P.M., as tired and worn out a sett [sic] of mortals as can possibly exist. On arriving at Washington we were marched to the ‘Soldiers Retreat,’ a building purposely erected for the benefit of the soldier, where every comfort is extended to him and the wants of the ‘inner man’ supplied.
After partaking of refreshments we were ordered into line and marched, about three miles, to this camp. So tired were the men, that on marching out, some gave out, and had to leave the ranks, but J. Boulton Young, our ‘little Zouave,’ stood it bravely, and acted like a veteran. So small a drummer is scarcely seen in the army, and on the march through Washington he was twice the recipient of three cheers.
We were reviewed by Gen. McClellan yesterday [21 September 1861] without our knowing it. All along the march we noticed a considerable number of officers, both mounted and on foot; the horse of one of the officers was so beautiful that he was noticed by the whole regiment, in fact, so wrapt [sic] up were they in the horse, the rider wasn’t noticed, and the boys were considerably mortified this morning on dis-covering they had missed the sight of, and the neglect of not saluting the soldier next in command to Gen. Scott.
Col. Good, who has command of our regiment, is an excellent man and a splendid soldier. He is a man of very few words, and is continually attending to his duties and the wants of the Regiment.
…. Our Regiment will now be put to hard work; such as drilling and the usual business of camp life, and the boys expect and hope an occasional ‘pop’ at the enemy.
Then, on 24 September, the soldiers of Company H, 47th Pennsylvania Volunteers became part of the federal service when the regiment officially mustered into the U.S. Army. Three days later, on 27 September—a rainy day, the 47th Pennsylvania was assigned to Brigadier-General Isaac Stevens’ 3rd Brigade, which also included the 33rd, 49th and 79th New York regiments. By that afternoon, the 47th Pennsylvania was on the move again. Ordered onward by Brigadier-General Silas Casey, the Mississippi rifle-armed 47th Pennsylvania infantrymen marched behind their regimental band until reaching Camp Lyon, Maryland on the Potomac River’s eastern shore. At 5 p.m., they joined the 46th Pennsylvania in moving double-quick (one hundred and sixty-five steps per minute using thirty-three-inch steps) across the “Chain Bridge” marked on federal maps, and continued on for roughly another mile before being ordered to make camp.
The next morning, they broke camp and moved again. Marching toward Falls Church, Virginia, they arrived at Camp Advance around dusk. There, about two miles from the bridge they had crossed a day earlier, they re-pitched their tents in a deep ravine near a new federal fort under construction (Fort Ethan Allen). They had completed a roughly eight-mile trek, were situated fairly close to General W. F. Smith’s headquarters, and were now part of the massive Army of the Potomac. Under Smith’s leadership, their regiment and brigade would help to defend the nation’s capital from the time of their September arrival through late January when the men of the 47th Pennsylvania would be shipped south.
Once again, Wharton recapped the regiment’s activities, noting, via his 29 September letter home to the Sunbury American, that the 47th had changed camps three times in three days:
On Friday last we left Camp Kalorama, and the same night encamped about one mile from the Chain Bridge on the opposite side of the Potomac from Washington. The next morning, Saturday, we were ordered to this Camp [Camp Advance near Fort Ethan Allen, Virginia], one and a half miles from the one we occupied the night previous. I should have mentioned that we halted on a high hill (on our march here) at the Chain Bridge, called Camp Lyon, but were immediately ordered on this side of the river. On the route from Kalorama we were for two hours exposed to the hardest rain I ever experienced. Whew, it was a whopper; but the fellows stood it well – not a murmur – and they waited in their wet clothes until nine o’clock at night for their supper. Our Camp adjoins that of the N.Y. 79th (Highlanders.)….
We had not been in this Camp more than six hours before our boys were supplied with twenty rounds of ball and cartridge, and ordered to march and meet the enemy; they were out all night and got back to Camp at nine o’clock this morning, without having a fight. They are now in their tents taking a snooze preparatory to another march this morning…. I don’t know how long the boys will be gone, but the orders are to cook two days’ rations and take it with them in their haversacks….
There was a nice little affair came off at Lavensville [sic], a few miles from here on Wednesday last; our troops surprised a party of rebels (much larger than our own.) killing ten, took a Major prisoner, and captured a large number of horses, sheep and cattle, besides a large quantity of corn and potatoes, and about ninety six tons of hay. A very nice day’s work. The boys are well, in fact, there is no sickness of any consequence at all in our Regiment….
As part of the 3rd Brigade, the 47th Pennsylvanians were next moved to a site they initially christened “Camp Big Chestnut” for the large chestnut tree located within their lodging’s boundaries. The site would eventually become known to the Keystone Staters as “Camp Griffin,” and was located roughly 10 miles from Washington, D.C. Posted not far from their home state, members of the regiment occasionally had the good fortune to receive personal visits from family members.
On 11 October, the 47th Pennsylvania Volunteers marched in the Grand Review at Bailey’s Cross Roads. In a letter home in mid-October, Captain John Peter Shindel Gobin (the leader of C Company who would be promoted in 1864 to lead the entire 47th Regiment) reported that companies D, A, C, F and I (the 47th Pennsylvania’s right wing) were ordered to picket duty after the left wing companies (B, G, K, E, and H) had been forced to return to camp by Confederate troops:
I was ordered to take my company to Stewart’s [sic] house, drive the Rebels from it, and hold it at all hazards. It was about 3 o’clock in the morning, so waiting until it was just getting day, I marched 80 men up; but the Rebels had left after driving Capt. Kacy’s company [H] into the woods. I took possession of it, and stationed my men, and there we were for 24 hours with our hands on our rifles, and without closing an eye. I took ten men, and went out scouting within half a mile of the Rebels, but could not get a prisoner, and we did not dare fire on them first. Do not think I was rash, I merely obeyed orders, and had ten men with me who could whip a hundred; Brosius, Piers, Harp and McEwen [all of Company C] were among the number. Every man in the company wanted to go. The Rebels did not attack us, and if they had they would have met with a warm reception, as I had my men posted in such a manner that I could have whipped a regiment. My men were all ready and anxious for a ‘fight.’”
Captain Gobin had been referring to Brigadier-General James Ewell Brown (“J.E.B.”) Stuart, commanding officer of the Confederate Army of the Potomac (later known as the Army of Northern Virginia), under whose authority the 4th Virginia Cavalry (“Black Horse Cavalry”) fell. Stuart’s Fairfax County, Virginia home had been commandeered by the Union Army and used by the 47th Pennsylvania Volunteers and other Union regiments as the base of operations for their picket lines in that area. Among the Civil War-related papers of H Company’s First Lieutenant William Geety at the U.S. Army Military History Institute, are a photograph and other items taken from Stuart’s Union-occupied home.
In his letter of 13 October, Wharton also described their duties and their new home:
The location of our camp is fine and the scenery would be splendid if the view was not obstructed by heavy thickets of pine and innumerable chesnut [sic] trees. The country around us is excellent for the Rebel scouts to display their bravery; that is, to lurk in the dense woods and pick off one of our unsuspecting pickets. Last night, however, they (the Rebels) calculated wide of their mark; some of the New York 33d boys were out on picket; some fourteen or fifteen shots were exchanged, when our side succeeded in bringing to the dust, (or rather mud,) an officer and two privates of the enemy’s mounted pickets. The officer was shot by a Lieutenant in Company H [?], of the 33d.
Our own boys have seen hard service since we have been on the ‘sacred soil.’ One day and night on picket, next day working on entrenchments at the Fort, (Ethan Allen.) another on guard, next on march and so on continually, but the hardest was on picket from last Thursday morning ‘till Saturday morning – all the time four miles from camp, and both of the nights the rain poured in torrents, so much so that their clothes were completely saturated with the rain. They stood it nobly – not one complaining; but from the size of their haversacks on their return, it is no wonder that they were satisfied and are so eager to go again tomorrow. I heard one of them say ‘there was such nice cabbage, sweet and Irish potatoes, turnips, &c., out where their duty called them, and then there was a likelihood of a Rebel sheep or young porker advancing over our lines and then he could take them as ‘contraband’ and have them for his own use.’ When they were out they saw about a dozen of the Rebel cavalry and would have had a bout with them, had it not been for…unlucky circumstance – one of the men caught the hammer of his rifle in the strap of his knapsack and caused his gun to fire; the Rebels heard the report and scampered in quick time….
On Friday, 22 October, the 47th engaged in a morning Divisional Review, described by historian Lewis Schmidt as massing “about 10,000 infantry, 1000 cavalry, and twenty pieces of artillery all in one big open field.” In late October, according to Schmidt, the men from Companies B, G and H woke at 3 a.m., assembled a day’s worth of rations, marched four miles from camp, and took over picket duties from the 49th New York:
Company B was stationed in the vicinity of a Mrs. Jackson’s house, with Capt. Kacy’s Company H on guard around the house. The men of Company B had erected a hut made of fence rails gathered around an oak tree, in front of which was the house and property, including a persimmon tree whose fruit supplied them with a snack. Behind the house was the woods were the Rebels had been fired on last Wednesday morning while they were chopping wood there.
Around this same time, Capt. Kacy divided H Company into four squads, by tent grouping, each under the leadership of a sergeant:
whose duty it shall be to see that the arms and accoutrements are kept in good order. That the men keep their tents clean, that they are clean in their person, and that they wash their hands and faces and comb their hair every day. That the men keep order in their quarters and report all damage to arms, want or waste of ammunition, and all disorderly conduct.
Kacy followed that order with another clarifying meal times (breakfast: 6 a.m., dinner: noon, supper: 6 p.m.) and duty schedules (7 a.m., 1 p.m., 7 p.m.). In early November, Kacy directed that:
while in camp, no permits or washing will be given on any other days than Monday, Wednesday, or Friday. All washing must be done in the forenoon. No permits or leaves of absence from company will be given on any days but Monday and Friday. Sutler tickets will be given only in the morning between the hours of 7 and 9.
In his own letter of 17 November, Wharton revealed still more details about life as a 47th Pennsylvanian—this time from Camp Griffin in Virginia:
This morning our brigade was out for inspection; arms, accoutrements [sic], clothing, knapsacks, etc, all were out through a thorough examination, and if I must say it myself, our company stood best, A No. 1, for cleanliness. We have a new commander to our Brigade, Brigadier General Brannen [sic], of the U.S. Army, and if looks are any criterion, I think he is a strict disciplinarian and one who will be as able to get his men out of danger as he is willing to lead them to battle….
The boys have plenty of work to do, such as piquet [sic] duty, standing guard, wood-chopping, police duty and day drill; but then they have the most substantial food; our rations consist of fresh beef (three times a week) pickled pork, pickled beef, smoked pork, fresh bread, daily, which is baked by our own bakers, the Quartermaster having procured portable ovens for that purpose, potatoes, split peas, beans, occasionally molasses and plenty of good coffee, so you see Uncle Sam supplies us plentifully….
A few nights ago our Company was out on piquet [sic]; it was a terrible night, raining very hard the whole night, and what made it worse, the boys had to stand well to their work and dare not leave to look for shelter. Some of them consider they are well paid for their exposure, as they captured two ancient muskets belonging to Secessia. One of them is of English manufacture, and the other has the Virginia militia mark on it. They are both in a dilapidated condition, but the boys hold them in high estimation as they are trophies from the enemy, and besides they were taken from the house of Mrs. Stewart, sister to the rebel Jackson who assassinated the lamented Ellsworth at Alexandria. The honorable lady, Mrs. Stewart, is now a prisoner at Washington and her house is the headquarters of the command of the piquets [sic]….
Since the success of the secret expedition, we have all kinds of rumors in camp. One is that our Brigade will be sent to the relief of Gen. Sherman, in South Carolina. The boys all desire it and the news in the ‘Press’ is correct, that a large force is to be sent there, I think their wish will be gratified….
On 21 November, the 47th participated in another morning divisional review—this time by Colonel Tilghman H. Good. Brigade and division drills were then held that afternoon. According to Schmidt, “each man was supplied with ten blank cartridges.” Afterward, “Gen. Smith requested Gen. Brannan to inform Col. Good that the 47th was the best regiment in the whole division.”
As a reward, and in preparation for bigger things to come, Brigadier-General John Milton Brannan obtained brand new Springfield rifles for every member of the 47th Pennsylvania.
1862

U.S. Naval Academy Barracks and temporary hospital, Annapolis, Maryland, circa 1861-1865 (public domain).
Next ordered to move from their Virginia encampment back to Maryland, the 47th Pennsylvania Volunteers left Camp Griffin at 8:30 a.m. on Wednesday, 22 January 1862, marching through deep mud with their equipment for three miles in order to reach the railroad station at Falls Church. Sent by rail to Alexandria, they then sailed the Potomac via the steamship City of Richmond to the Washington Arsenal, where they were reequipped before they were marched off for dinner and rest at the Soldiers’ Retreat in Washington, D.C. The next afternoon, the 47th Pennsylvanians hopped rail cars on the Baltimore & Ohio Railroad, and headed for Annapolis, Maryland. Arriving around 10 p.m., they were assigned quarters in barracks at the Naval Academy. They then spent that Friday through Monday (24-27 January 1862) loading their equipment and other supplies onto the steamship Oriental.
By the afternoon of 27 January 1862, the 47th Pennsylvania Volunteers had been ferried to the Oriental by smaller steamers and, at 4 p.m., per the directive of Brigadier-General Brannan, were steaming away for the Deep South. They were headed for Florida which, despite its secession from the Union, remained strategically important to the Union due to the presence of Forts Taylor and Jefferson in Key West and the Dry Tortugas.
By early February 1862, Corporal Daniel Reeder and his fellow 47th Pennsylvania Volunteers were in Key West. Assigned to garrison Fort Taylor, they also drilled daily in heavy artillery tactics, felled trees, built new roads, and strengthened the installation’s fortifications.
During the weekend of Friday, 14 February, the 47th Pennsylvanians introduced their presence to Key West residents as the regiment paraded through the streets of the city. That Sunday, a number of the men attended to their spiritual needs by attending services at local churches.
With the officers of the 47th Pennsylvania concerned once again regarding the potential for disease to decimate the ranks, Captain Kacy of Company H ordered that:
Sgt. R.S. Gardner will have under his command tents #1 and 2 and will be held personally responsible for the clean up of the men in person, clothing, arms, accoutrements, and quarters. Sgt. James Hahn will have under him tents #3 and 4 and be held responsible the same as #1 and 2. Sgt. Lynch will have under his control tents #5 and 6 and will be likewise held responsible. The Sgts. Gardner, Hahn and Lynch will have the men of the company on the parade ground at 5:30 AM and when one of them is on guard, the other two will attend to this drill duty and divide the squad between their respective commands.
From mid-June through July, the 47th was ordered to Hilton Head, South Carolina where the men made camp before being housed in the Department of the South’s Beaufort District. Picket duties north of the 3rd Brigade’s camp were commonly rotated among the regiments present there at the time, putting soldiers at increased risk from sniper fire. According to historian Samuel P. Bates, during this phase of service, the men of the 47th “received the highest commendation from Generals Hunter and Brannan” for their “attention to duty, discipline and soldierly bearing.”
Capture of Saint John’s Bluff, Florida and the Battle of Pocotaligo, South Carolina
Sent on a return expedition to Florida as September 1862 waned, the men of Company H saw their first truly intense moments of service when H Company participated with the 47th Pennsylvania and other Union regiments in the capture of Saint John’s Bluff from 1 to 3 October.
Commanded by Brigadier-General John M. Brannan, the 47th Pennsylvanians disembarked with a 1,500-plus Union force at Mayport Mills and Mount Pleasant Creek from troop carriers guarded by Union gunboats. Taking point, the 47th Pennsylvanians then led the 3rd Brigade through twenty-five miles of dense, pine forested swamps populated with deadly snakes and alligators. By the time the expedition ended, the Union brigade had forced the Confederate Army to abandon its artillery battery atop Saint John’s Bluff, and had paved the way for the Union Army to occupy the town of Jacksonville, Florida. Along the way, two companies from the 47th Pennsylvania (E and K) also helped capture the Gov. Milton, a Confederate steamer that had equipped the bluff and surrounding Rebel troop placements with men and supplies.
From 5 to 15 October 1862, several young to middle-aged Black men left the hardship they had known in Beaufort, South Carolina to become members of the 47th Pennsylvania Volunteers, including twenty-two-year-old Edward Jassum. Initially assigned kitchen duties, Jassum was officially mustered into military service at the rank of Under Cook with the 47th Pennsylvania at Morganza on 22 June 1864, and was honorably discharged on 14 October 1865 upon completion of his three-year tour of duty.

The challenging environment of the Charleston & Savannah Railroad was illustrated by Harper’s Weekly in 1865.
From 21-23 October, under the brigade and regimental commands of Colonel Tilghman H. Good and Lieutenant-Colonel George W. Alexander, the 47th engaged Confederate forces in and around Pocotaligo, South Carolina. Because Captain Kacy was confined to a Union hospital that day due to illness, the men of H Company were led by First Lieutenant William W. Geety.
Landing at Mackay’s Point, the men of the 47th were placed on point once again, but they and the 3rd Brigade were less fortunate this time. Harried by snipers en route to the Pocotaligo Bridge, they met resistance from an entrenched, heavily fortified Confederate battery which opened fire on the Union troops as they entered an open cotton field. Those headed toward higher ground at the Frampton Plantation fared no better as they encountered artillery and infantry fire from the surrounding forests.
The Union soldiers grappled with the Confederates where they found them, pursuing the Rebels for four miles as they retreated to the bridge. There, the 47th relieved the 7th Connecticut. But the enemy was just too well armed. After two hours of intense fighting in an attempt to take the ravine and bridge, depleted ammunition forced the 47th to withdraw to Mackay’s Point.
Losses for the 47th were significant. Two officers and eighteen enlisted men died; another two officers and one hundred and fourteen enlisted from the 47th were wounded, including H Company’s First and Second Lieutenants, William Geety and William Gardner, First Sergeant George Reynolds, Corporals Daniel Reeder and P. W. Stockslager, and Privates Samuel Huggins, Comley Idall, Cyrus Johnson, and R. R. Kingsborough.
On 25 October, Captain James Kacy of Company H penned the following letter to The Perry County Democrat:
Beaufort, S.C., Oct. 25, 1862.
Dear Sir,
Jason Robinson, a printer, joined my company, from your place and was killed at the battle of Pocotaligo one 22d inst. I do not know his relations or where to write to them. Probably you do. The following is a list of killed and wounded in my company:
COMPANY H. – Killed – Henry Stambaugh, Jefferson Waggoner, Peter Deitrick, Jason P. Robinson. – Wounded—First Lieutenant W. W. Geety, mortally, Orderly Sergeant, George Reynolds; Sergeant Reuben S. Gardner, in head and leg; Corporals Daniel Reeder, David H. Smith, Peter W. Stockslager; privates Jerome Briner [sic], Henry Bolinger, Augustus Rupp, Samuel Huggins, Comley Idall, Patrick Mullen, Jefferson Haney.
We did not lose a prisoner but took some. Total loss in the 47th Reg. 99 wounded, 23 killed. Several have died since. Our boys fought like Turks. We ran out of ammunition and had to leave the field.–We are going back soon.
The effects of Robinson will be sent home as soon as I can put up and forward by express.
Yours, James Kacy,
Capt. Co. H, 47th Reg. P. V.

U.S. General Hospital, Hilton Head, South Carolina. Built facing ocean/Port Royal Bay (Broad River). Hospital medical director’s residence, left foreground (U.S. Library of Congress, circa 1861-1865, public domain).
Reeder, who had been shot in the arm, was wounded so severely that surgeons were forced to amputate his damaged limb above the elbow. After convalescing briefly at the Union Army’s General Hospital at Hilton Head, South Carolina, he was discharged on a Surgeon’s Certificate of Disability on 24 November 1862, and sent home to Pennsylvania.
Many 47th Pennsylvanians were less fortunate, however, succumbing to their wounds or resulting treatment at Hilton Head. Still others lie in unmarked graves, the information of their burial locations lost to the sloppy records of Army Quartermaster and hospital personnel, or to the trauma-impaired memories of soldiers who were forced to leave behind the bodies of comrades upon receiving orders to retreat.
Return to Civilian Life
Following his honorable discharge from the military, Daniel Reeder returned home to Perry County, where he filed for his U.S. Civil War Veteran’s Pension in March of 1863, and pursued further schooling. After completing several terms at the academy in Loysville, Perry County, he attended and graduated from the Eastman College at Poughkeepsie, New York. Although he became a teacher, he was forced to leave the profession in short order after being felled by a serious attack of bronchitis.
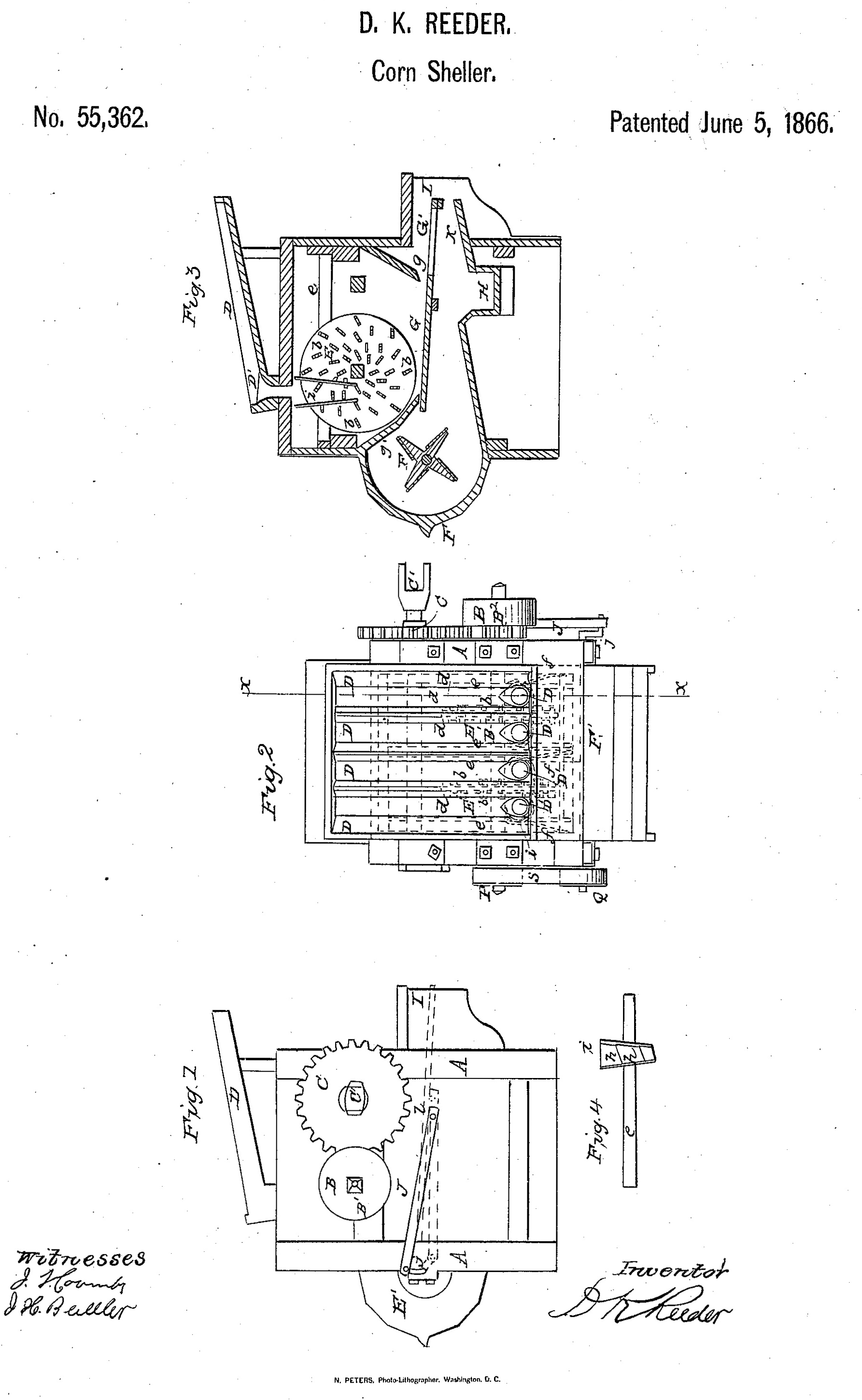
In 1866, he filed for and was awarded a U.S. patent on a corn sheller. The machine and its operations were summarized in an 1867 report which was made by the U.S. Commissioner of Patents to the U.S. House of Representatives:
No. 55,362. – DANIEL K. REEDER, Elliottsburg, Penn. – Corn Sheller. – June 5, 1866. – The wheels have obliquely set teeth on both faces; the cars are fed from a grooved hopper floor, and held by concave helical sockets on the spring slats; the grain is cleaned by an air blast on an inclined floor and grating.
Claim. – First, the combination of the double-toothed wheels E, the concave holders I, mounted on slats e, provided with yielding springs f, and the grooved hopper D, all constructed and arranged substantially as and for the purposes described.
Second, the helical gains h in the concave holders i, as and for the purposes described.
Third, the teeth upon the wheels E set at an angle, as described, to the radii of said wheels, in combination with the concave holders I, as an for the purpose described.
Fourth, the grooved floor of the hopper D, in combination with the apertures D’, substantially as and for the purpose described.
Fifth, the shaking inclined floor G and slotted screen G’, in combination with the shelling machinery and revolving fan, substantially as and for the purposes described.
Additional details are available in the Specification Forming Part of Letters Patent No. 55,362 (Improvement in Corn-Shellers), dated June 5, 1866:
In the accompanying drawings, Figure l is a side elevation of the machine. Fig. 2 is a plan view. Fig. 3 is a vertical section in the line … and Fig. 4 is a view of one of the concave holders … detached.
A is the main frame of the machine. B is a pulley for operating the main shaft B’ by means of a belt or strap. C is a cog-wheel mounted on the shaft C’, and matching into a cog-wheel, B2, mounted on the shaft B. This cog-wheel G and shaft C are added to the machine for the purpose of operating it by a revolving-shaft power applied to the said shaft G’; but when the machine is to be run by a belt passing over the pulley B said shaft C’ and cog-wheels G and B2 will not be required.
D is a hopper or inclined floor upon which the ears of corn are thrown to be fed to the shelling mechanism … grooves in said inclined door to conduct the ears of corn to the apertures through said floor … through which they fall to … the shelling machinery.
E E are two wheels mounted on the shaft B’, provided with double sets of cogs or teeth … on each side, to shell the corn.
… concave guides and holders to receive the ears of corn as they fall through the apertures D’, and hold them up against the wheels E while the corn is being shelled. These concaves are made in the form of sections of cones tapering downward, and are attached to slats … and these slats are held in proper positions [relative] to the wheels E by means of yield- G is an inclined floor upon which the shelled corn falls [passing through a slotted screen as it runs down the inclined floor], falling from said screen upon the inclined plane K, by which it is conducted to the exit chute or spout H. Motion is given to said inclined door [and screen] by means of a crank … on the end of the revolving fan shaft, the connecting-rod J, and the lever l, having its fulcrum at the opposite side of the machine, and pivoted at its center to the floor G.
G and g’ are guide-boards to gather the shelled corn and guide it to the inclined floor G. The teeth … on the wheels E are neither set radially nor tangentially, but at an intermediate angle, so that as the wheel revolves the outer and forward corner of each tooth will first come in contact with the ear of corn and force it down the concave holder.
I is the opening through which the cobs are discharged, and through which, also, the chaff and dust are blown out by the fan.
The operation is as follows: The machine having been set in motion by applying the power either to the pulley B or the shaft C’, as circumstances may require, the ears of corn are thrown into the hopper D, and sliding down the grooves … they enter endwise and pass through the apertures … dropping into the concave holders … where they are seized by the teeth of the revolving wheels … revolved within said holders, and the grains detached from the cob. The cobs and grain fall together on the inclined floor G, and in passing over the screen G’ the shelled corn passes through the same, falls upon the inclined plate K, runs down into the exit-spout H and is discharged therefrom, while the cobs pass over the screen and out of the opening … the chaff and dust being at the same time blown out of said opening by the fan.
The illustration of the machine accompanying Reeder’s patent application (above left) also shows Reeder’s signature.
On 14 May 1867, he wed Pennsylvania native Eliza Jane Wetzel (1843-21 January 1920) at the First Evangelical Lutheran Church in Carlisle, Cumberland County, Pennsylvania. Together, Daniel and Lizzie Reeder welcomed to the world son Tyson G. (born sometime around 1868), daughter Minnie Sarah (20 August 1869-10 February 1951), son Charles Lee (27 December 1871-10 January 1954), daughter Daisy Irene (born in August of 1873), son Parke Maloy (2 January 1875-18 July 1934), and son Frank (born sometime around 1877).
By the 1880s, his business efforts saw him traveling regularly to and staying in Washington, D.C. In 1887, he ran as a candidate for doorkeeper of the U.S. House of Representatives in 1887. In a letter to the National Republican newspaper on 1 December, a friend – Billy Ford – lobbied hard for Reeder’s election to the post, describing him as a:
truly a self-made man, modest, unassuming, self reliant [sic], faithful in the discharge of every duty. He isn’t a blear eyed politician, nor a lobby loafer, nor an axe grinder, nor wire puller. The close of the day finds him in the bosom of his interesting family, and he has won the respect of all with whom he has come in contact. Friends! He has host of them who know his worth.
Unfortunately for Reeder, another candidate was chosen for the post. But, as so many of his fellow Civil War veterans did, he picked himself up, dusted himself off and moved forward, purchasing land and continuing to advance his business interests. By the 1890s, he resided with his wife and children in Dover, Kent County, Delaware. On 28 October 1891, their daughter, Minnie, married Alfred J. Arnold (1866-1914) in Leemont, Virginia, and then welcomed son, Park Alfred Arnold (1902-1967) to her Washington, D.C. home on 1 May 1902.

Description of Daniel K. Reeder’s Civil War disability (U.S. Veterans Administration pension payment card, circa 1900, public domain).
At the turn of the century, most of the Reeder clan was still living together. Still at home with Daniel and Lizzie were sons Charles, an office clerk, and Parke, a printer, and dress-maker daughter Daisy. Patriarch Daniel brought home the bacon as a real estate broker.
In 1903, military records show that Reeder continued to struggle with his disability. A U.S. Civil War Pension Payment card noted that his rate of pension at this time was $55 due to:
Loss of arm above elbow, stump in such diseased condition as to prevent use of artificial limb.
Death and Interment
As his health continued to decline in the early 1900s, Daniel K. Reeder retired from the business world. Following another attack of acute bronchitis, for which he was treated from 27 December 1914 through the New Year, he passed away at his home in Dover, Delaware at 11:00 p.m. on 2 January 1915. He was laid to rest at the Glenwood Cemetery (section M, lot 260, grave no. 7) on 5 January in Washington, D.C. His widow served as the informant on his death certificate.
Their son, Charles Lee Reeder, became a wholesale florist. He wed and was widowed by Clara (Nash) Reeder, and passed away in Smyrna, Delaware on 10 January 1954, and was interred at the Lakeside Cemetery in Dover, Kent County, Delaware on 12 January.
Sources:
- Bates, Samuel P. History of Pennsylvania Volunteers, 1861-5, vol. 1. Harrisburg, Pennsylvania: B. Sigerly, State Printer, 1869.
- D. K. Reeder and Lizzie J. Wetzel, in Pennsylvania Marriages, 1709-1940 Database (14 May 1867, First Evangelical Lutheran Church, Carlisle, Cumberland, Pennsylvania; FHL microfilm 823,844). Salt Lake City, Utah: Family History Library, 1867.
- Ford, Billy. “Self-Made: The Industrious Career of Capt. Daniel K. Reeder: What I Know About the Candidate for Doorkeeper.” Washington, D.C.: National Republican, 1 December 1887.
- Letter from Captain James Kacy from Beaufort, South Carolina, 25 October 1862 regarding H Company casualties sustained during the Battle of Pocotaligo, South Carolina, 22 October 1862. Bloomfield, Pennsylvania: The Perry County Democrat, 6 November 1862.
- “No. 55,362. – Daniel K. Reeder, Elliottsburg, Penn. – Corn Sheller – June 5, 1866,” in Annual Report of the Commissioner of Patents for the Year 1866, vol. II. Washington, D.C.: U.S. House of Representatives (39th Congress, 2nd Session, Ex. Doc. No. 109), Government Printing Office, 1867.
- Reeder, Daniel, in Civil War Veterans’ Card File, 1861-1866. Harrisburg, Pennsylvania: Pennsylvania State Archives.
- Reeder, Daniel K. and Charles Lee Reeder, in Death Certificates. Dover, Delaware: State of Delaware, 1915 and 1954.
- Reeder, Daniel J., in Land Records. Dover, Delaware: State of Delaware, 1893-1915.
- Reeder, Daniel K., in U.S. Civil War Pension Index (application no.: 16116, certificate no.: 15696, filed by the veteran on 30 March 1863; application no.: 1040690, certificate no.: 789508, filed by the veteran’s widow, Eliza J. Reeder, from Delaware on 28 January 1915), and in United States Veterans Administration Pension Payment Cards (date of commencement: 2 March 1903, date of certificate: 26 April 1904). Washington, D.C.: U.S. National Archives and Records Administration, 1863-1915.
- Reeder, Daniel K., Eliza J. Reeder, Minnie S. Reeder, and Alf. J. Arnold, in in Virginia Marriages, 1785-1940 Database (FHL microfilm 30,135). Salt Lake City, Utah: Family History Library.
- Eliza J. Wetzel, in District of Columbia Death and Burial Records. Washington, D.C.: 1920.
- Schmidt, Lewis. A Civil War History of the 47th Regiment of Pennsylvania Veteran Volunteers. Allentown, Pennsylvania: Self-published, 1986.
- U.S. Census (1900). Washington, D.C. and Delaware: U.S. National Archives and Records Administration.






You must be logged in to post a comment.